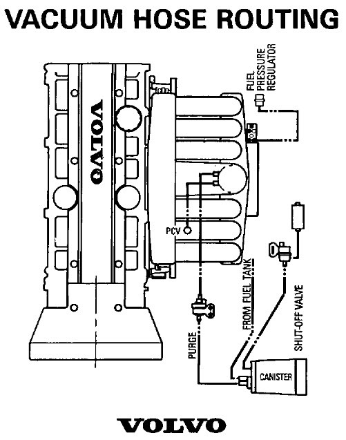
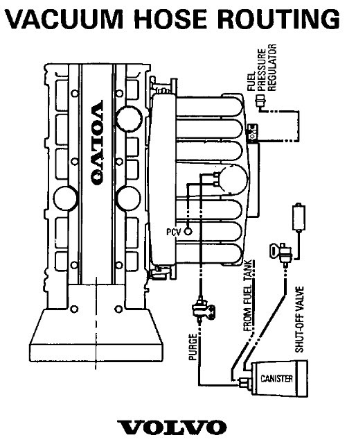
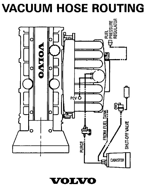
Im windering if someone could help me figure out how the vacuum lines re-attach..,. I actually did a head gasket repair and all went well until the last...where i did not mark anything thinking i would remember..
Nov 13, 2011 at 2:03 PM
