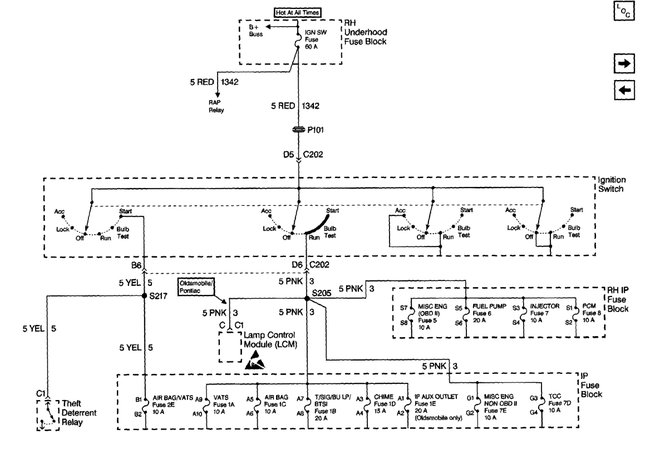
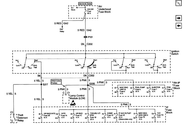
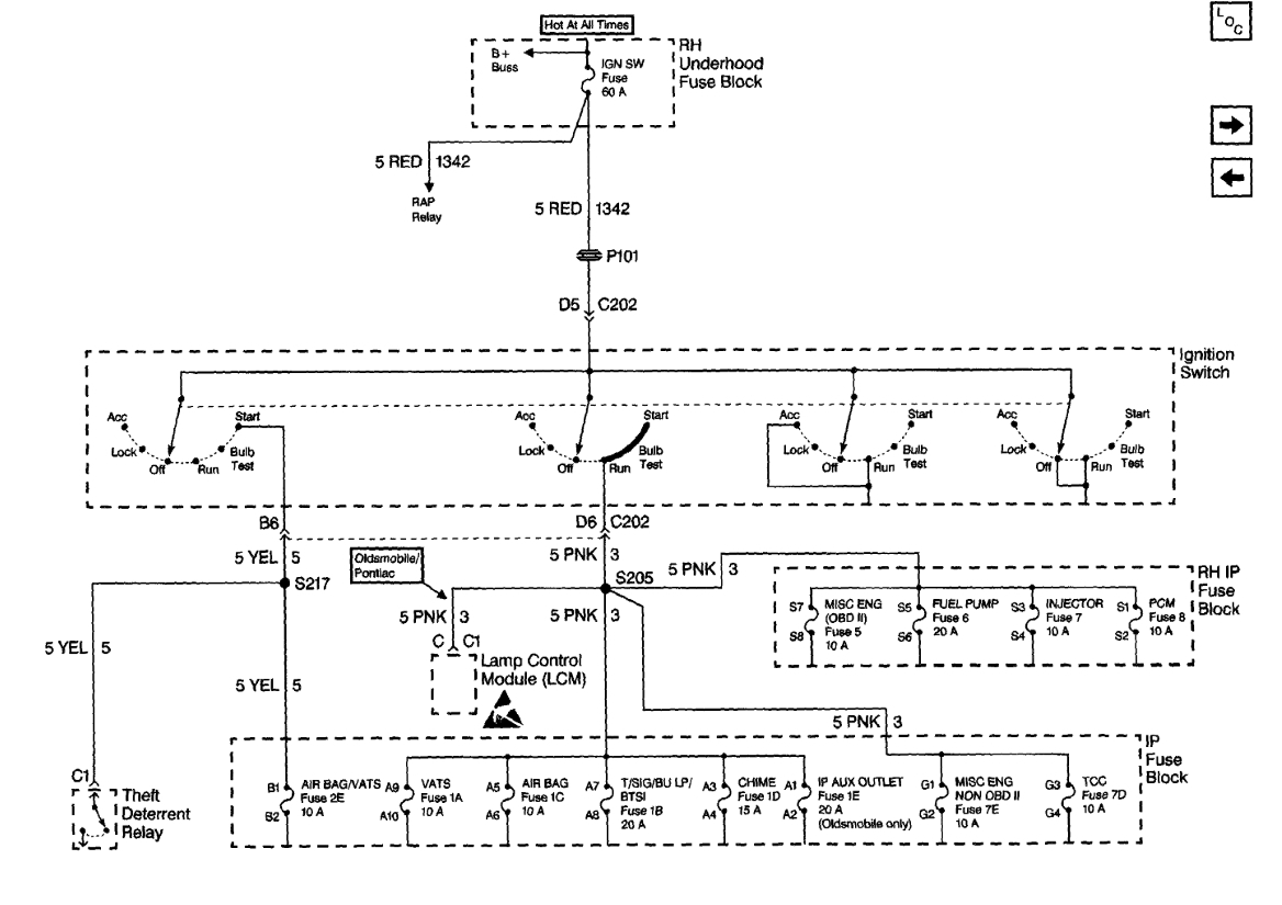
i am trying to get to the ignition switch so that i can check the wiring from ignition switch to connector i check for continuity between specified terminals with ignition switch in specified position,i didn't get no continuity between D5(RED)and D6(PINK)WIRE Didn't see anything on 1999 buick lesabre how to remove steering column trim panel can you send me more information.
Sep 25, 2012 at 12:20 AM











