my lights and flashers are not working

1998 PONTIAC BONNEVILLE
195,000 MILES
Avatar
CGOLTZ1
  • MEMBER
  • 1 POST
My emergency flashers work but not the blinker/turn indicators on the outside of the vehicle to turn right or left. The turn indicators on the dash do not work also. Is there a fuse or relay that needs to be replaced???
Dec 10, 2011 at 4:38 PM
Advertisement
Avatar
SATURNTECH9
  • CERTIFIED EXPERT
  • 30,869 POSTS
Have you checked the turn signal fuse yet?ALso do you have a multimeter to do some testing?
Dec 10, 2011 at 5:58 PM
Avatar
JDL
  • CERTIFIED EXPERT
  • 16,098 POSTS
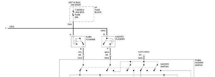
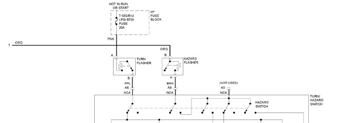
Do you have adaptive lamp monitor on this? The info I looked at was w/o. Check the fuse in the diagram, also, use voltage tester at the fuse circuit, key on.
Dec 10, 2011 at 6:04 PM
Advertisement