Where is the cooling fan relay located.?

1998 OLDSMOBILE ACHIEVA
118,000 MILES
Avatar
FDUKES
  • MEMBER
  • 1 POST
The engine cooling does'nt come. The fan works but won't come on when engine gets hot.
Mar 17, 2012 at 6:17 PM
Advertisement
Avatar
FIXITMR
  • CERTIFIED EXPERT
  • 9,990 POSTS
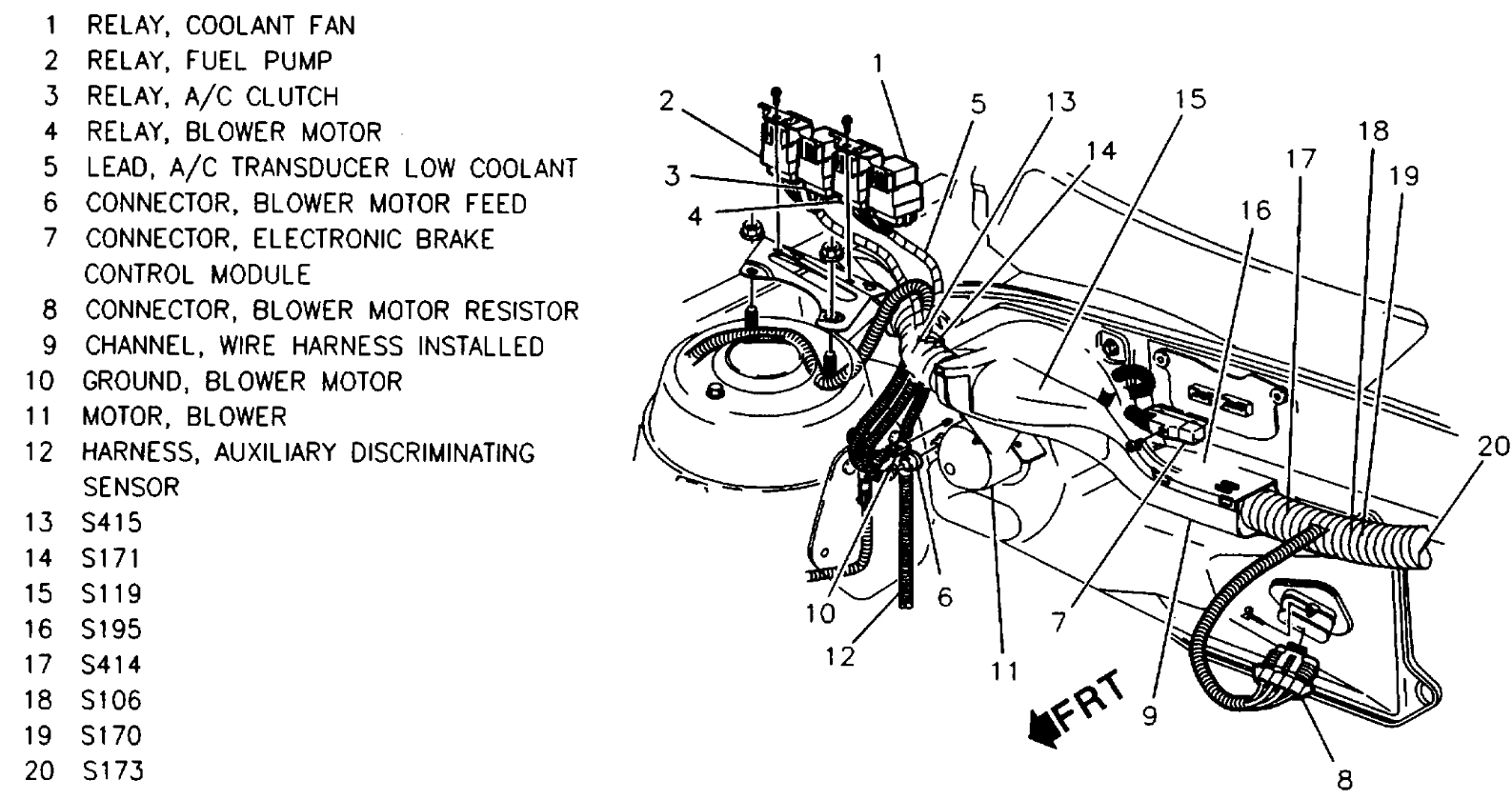
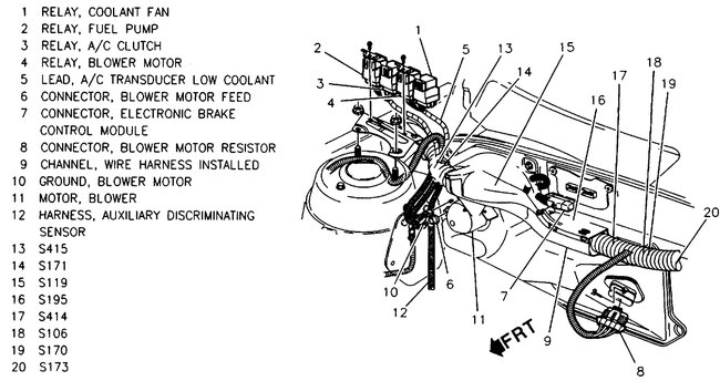
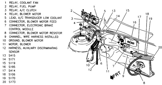
The cooling fan motor relay is on the passengers side near the shock tower, check out the images below for eh location and I have included a guide to help check the relay.

https://www.2carpros.com/articles/how-to-check-an-electrical-relay-and-wiring-control-circuit

Check out the images (Below). Please let us know what you find.


Mar 17, 2012 at 6:44 PM
Avatar
FIXITMR
  • CERTIFIED EXPERT
  • 9,990 POSTS
up by windshield passenger side under hood.
Mar 17, 2012 at 6:46 PM
Advertisement
Avatar
FDUKES
  • MEMBER
  • 1 POST
2.4 quad 4
Mar 17, 2012 at 7:47 PM
Avatar
FIXITMR
  • CERTIFIED EXPERT
  • 9,990 POSTS
did ya find it?
Mar 18, 2012 at 7:36 AM