☰
Login
Join
×
Home
Answered Questions
Repair Topics
Repair & Service Guides
Popular Questions
Warning Lights
Trouble Codes
How It Works
Testing / Diagnostics
Symptoms
Videos
Login
Become a Member
Home
Chevrolet
Malibu
Ignition
Coil
Location
1998 chevy malibu,2.4 liter
1998 CHEVROLET MALIBU
4 CYL • FWD • AUTOMATIC
PAUL PERRY
MEMBER
1 POST
FOLLOW
Where is the coil pack?
Nov 18, 2010 at 3:16 PM
Advertisement
DOCFIXIT
CERTIFIED EXPERT
18,828 POSTS
Remove cam cover top engine think 4 bolts. pull up remove from car coli on underside remove 4 screws
Nov 18, 2010 at 3:27 PM
WRENCHTECH
CERTIFIED EXPERT
20,761 POSTS
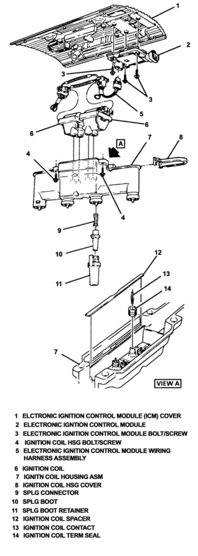
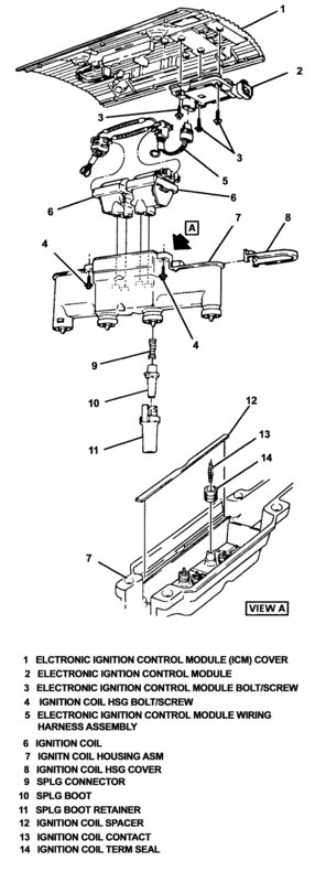
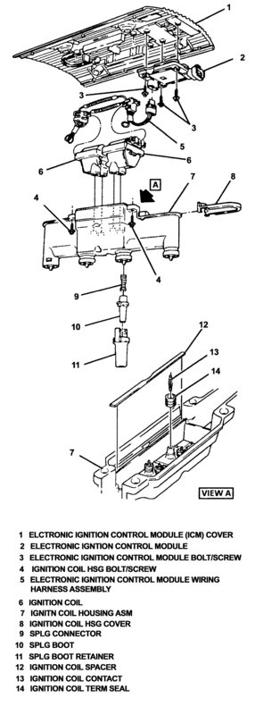
See attached picture
Image (Click to enlarge)
Nov 18, 2010 at 3:30 PM
Advertisement