remove a ignition tumbler

1997 TOYOTA VAN
110,000 MILES
Avatar
ANONYMOUS
  • MEMBER
  • 1 POST
How do you remove a ignition barrel from a Toyota van 1997?
Dec 12, 2012 at 7:11 PM
Advertisement
Avatar
KHLOW2008
  • CERTIFIED EXPERT
  • 41,814 POSTS
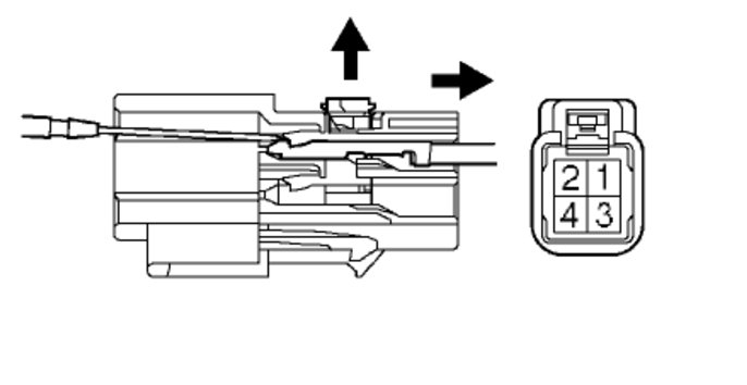
Remove the steering column covers. Turn ignition to ACC. Insert a pointed object to push against the pin on top of lock housing and pull the key out together with the cylinder. Here are diagrams to show you how to do the job.

Check out the diagrams (Below)

Please let us know if you need anything else to get the problem fixed.

Cheers
Dec 12, 2012 at 10:25 PM