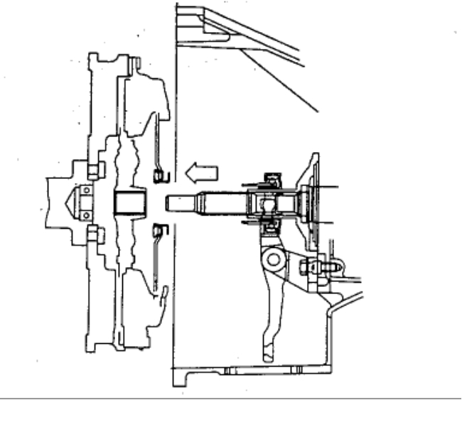
I replaced it clutch the throwout bearing slave cylinder and still have no pressure in my clutch pedal what could be the problem i can't see any leaks around the master cylinder please help
Jul 23, 2015 at 11:40 AM

















