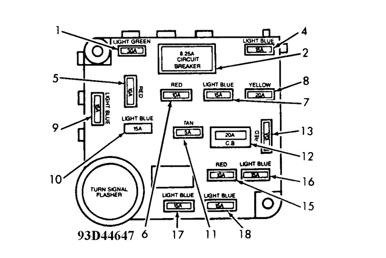
yes i have a 1995 murcery grand marquis and was parked for 3 months now the turn signal lights dont work wont even light up and the emergency flashers wont work. checked the fuses they are good . is there a flasher or what could it be and where would the flasher be located thanks Joe
Mar 6, 2011 at 5:12 PM
