transmission slips?

1995 HONDA ACCORD
AUTOMATIC
Avatar
TRAYSPRINCESS
  • MEMBER
  • 1 POST
I am looking at buying a '95 Honda Accord and the only that's wrong with it is, there is a transmission slip/stop. The person has had slip/stop leak put it in. That's all i know. please help
May 31, 2014 at 1:11 PM
Advertisement
Avatar
CARADIODOC
  • CERTIFIED EXPERT
  • 34,306 POSTS
Chemicals, (aka "mechanic in a can"), rarely solve problems. They aren't going to repair a mechanical problem. Slippage in a transmission is almost always caused by worn clutch plates, and it needs to be rebuilt to solve that. If you really want to buy a car with problems, get a quote for a worst-case cost from a transmission specialty shop, then deduct that amount from the value of the car to determine what it's worth. If this would be an easy fix, the current owner would have done it before selling the car or instead of selling it.

This guide can help us fix the problem

https://www.2carpros.com/articles/automatic-transmission-problems

Please run down this guide and report back.
May 31, 2014 at 11:14 PM
Avatar
PYRON21
  • MEMBER
  • 4 POSTS
When i drive my car anywhere when i accelerate the rpm's go up just over 3k before the transmission shifts gears and sometimes after a lot of stop and go the car goes into limp mode and wont shift out of first gear is it the transmission going out or something else?

David
Jul 7, 2020 at 2:23 PM (Merged)
Advertisement
Avatar
KHLOW2008
  • CERTIFIED EXPERT
  • 41,814 POSTS
Hi David,

Does the D4 light blinks while driving?
Jul 7, 2020 at 2:23 PM (Merged)
Avatar
PYRON21
  • MEMBER
  • 4 POSTS
The d4 light isn't blinking but when i short the diag connector it blinks a code of 1
Jul 7, 2020 at 2:23 PM (Merged)
Avatar
KHLOW2008
  • CERTIFIED EXPERT
  • 41,814 POSTS
Code 1 = Defective Lock-up Control Valve or its wiring circuit.

It should not be related to the non shifting and is more likely to be an after effect.

Is it a quick or prolonged link? 1 and 10 are different problems.

The other possibility is a faulty TCM.
Jul 7, 2020 at 2:23 PM (Merged)
Avatar
PYRON21
  • MEMBER
  • 4 POSTS
the light blinks quickly and always the same I'm not sure if it's a code of one or not.
Jul 7, 2020 at 2:23 PM (Merged)
Avatar
KHLOW2008
  • CERTIFIED EXPERT
  • 41,814 POSTS
That means a code 1.

A fault with the lock up clutch system.

One of the common fault for the problem would be a faulty TPS which does not show any code.

Another possible cause would be the TCM
Jul 7, 2020 at 2:23 PM (Merged)
Avatar
RJBLANK
  • MEMBER
  • 1 POST
The transmission in this car slips when put into drive, but when you shift to first (1), it seems to engage first gear better. It upshifts at the same road speed regardless of throttle position. It will also not kick-down into passing gear.

I replaced the transmission and TCM with a known good one (verified by test drive) from another Accord, but the same problems persist. I have verified that the wire connections between the TCM and the solenoids on the transmission are fine. What other options are there to look at?
Jul 7, 2020 at 2:23 PM (Merged)
Avatar
KHLOW2008
  • CERTIFIED EXPERT
  • 41,814 POSTS
Hi rjblank,

If the trans throttle pressure cable is faulty or incorrectly adjusted, it would either shift too early and slip under load or it would shift late and shifts harshly.

A faulty Throttle Position Sensor would cause erratic shifting as well.
Jul 7, 2020 at 2:23 PM (Merged)
Avatar
PYRON21
  • MEMBER
  • 4 POSTS
how do i find out specifically whats causing the issue without being able to plug into the computer and use a scan tool?
Jul 7, 2020 at 2:23 PM (Merged)
Avatar
KHLOW2008
  • CERTIFIED EXPERT
  • 41,814 POSTS
If you are able to use a DVOM, you can test the TPS voltage either at the ECU or the TPS sensor. To test via the TPS sensor you would need to make an adapter or extend the wires to be able to test the voltage.

If the ECU is used for testing the voltage, you can use the DVOM to back probe the terminals but you would need an assistant to operate the accelerator.
Jul 7, 2020 at 2:23 PM (Merged)
Avatar
CARLJRUS
  • MEMBER
  • 2 POSTS
I have a 94 Honda Accord with 255,000 miles. I was told there is a manual adjustment that could be done if the car was shifting a little hard. I am pretty good with cars just never got into any transmissions. Thanks for all the help.
Jul 7, 2020 at 2:23 PM (Merged)
Avatar
KHLOW2008
  • CERTIFIED EXPERT
  • 41,814 POSTS
Hi carljrus,

At the throttle body there are 2 cables, one for the accelerator and the other leading to the transmission, just below the lower radiator hose.

This is known as the throttle pressure cable and it controls the transmission line pressure.

The throttle lever at transmission side should start opening as soon as the throttle starts to open. If the cable is adjusted too short, there would be excessive line pressure resulting in harsh shifting.

If the cable is too long, pressure would be low resulting is slipping or flaring at moment of upshift and downshift would be delayed with lack of accelerating power.

At the throttle side, note if there is any slack in the trans throttle cable. If none, release the lock nut at transmission end and adjust until there is only minimal slack. Slowly turn the throttle opener and note the movement of the trans throttle cable.

Trans lever should start moving nly when the throttle plate starts opening, not before or after. Some testing and readjustment might be required to get the correct setting.
Jul 7, 2020 at 2:23 PM (Merged)
Avatar
CARLJRUS
  • MEMBER
  • 2 POSTS
Thanks for the reply for the transmission adjustment. Is there anything else that there could be? If not how hard is it to rebuild a transmission.

I also have a 4l60E transmission from a 00 GMC Sonoma that needs a complete rebuild.
Jul 7, 2020 at 2:23 PM (Merged)
Avatar
KHLOW2008
  • CERTIFIED EXPERT
  • 41,814 POSTS
Apart from throttle cable out of adjustment, fluid condition, engine mounts, throttle position sensor and trans internal faults can cause harsh shifting.

If harsh shifting only occurs for specific speeds, then it is the clutch concerned that is faulty.

I would say rebuilding is not a DIY job in terms of difficulty. Special tools would be required.
Jul 7, 2020 at 2:23 PM (Merged)
Avatar
FIVEKCAR
  • MEMBER
  • 1 POST
Hi,

My car seems to slip(On the tachometer it will go from in between 1 and 2, and jump up over 2) when I'm slowing down to make a turn, and then I accelerate. I notice it will only happen if my car slows down under 20 mph, so somewere between 1st and 2nd gear; It never does it from a complete stop.
I took it to a transmission shop recently, and the mechanic said he didn't feel like anything was wrong with the car. He took it for a test drive and said he couldn't reproduce the problem.
I flushed my transmission and replaced the fluid with Honda fluid; I also added Lubeguard, but the problem persists. My car also shifts hard.
Any input would be great!
Thanks for reading!
Jul 7, 2020 at 2:23 PM (Merged)
Avatar
KHLOW2008
  • CERTIFIED EXPERT
  • 41,814 POSTS
Hi fivekcar,

Thank you for the donation.

You are not experiencing clutch slippage, rather it is a case of idling surging. Check for vacumn leakages.

Since the trans is shifting hard, check the trans throttle pressure cable adjustment. It might have been adjusted too short resulting in too high pressure when upshifting.

Check the engine mounts too.
Jul 7, 2020 at 2:23 PM (Merged)
Avatar
BR5499WILLIAMS
  • MEMBER
  • 2 POSTS
what does it mean when the d4 light flashes? the tranny slips every now and then,especially when its cold.
Jul 7, 2020 at 2:23 PM (Merged)
Avatar
KHLOW2008
  • CERTIFIED EXPERT
  • 41,814 POSTS
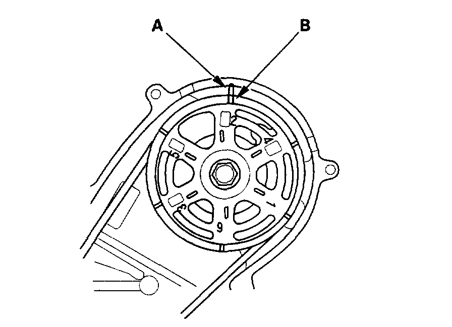
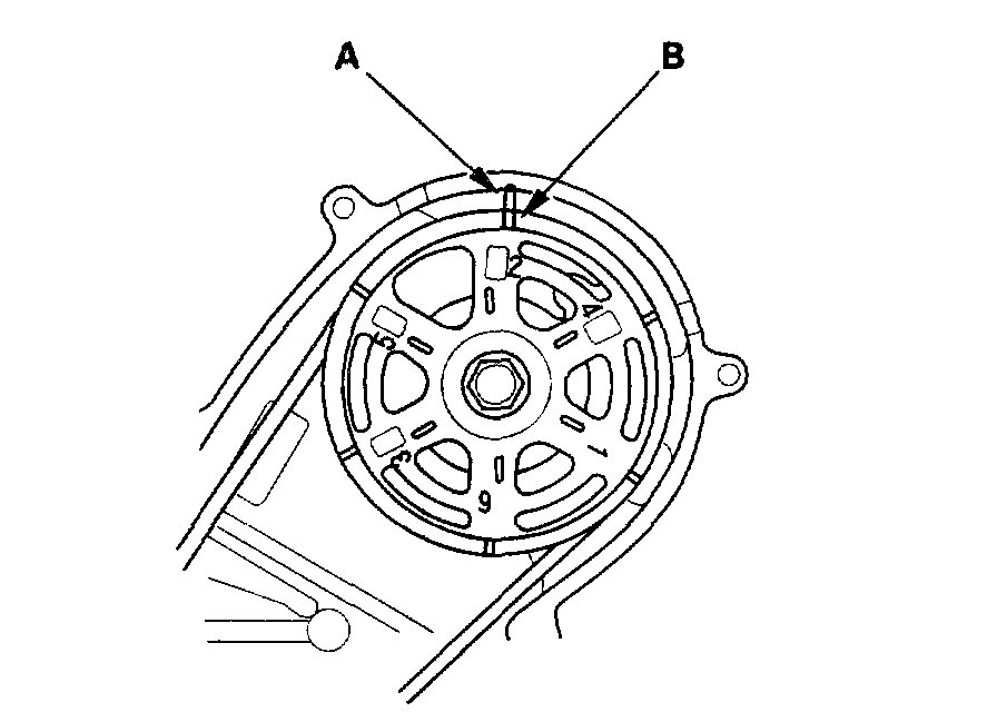
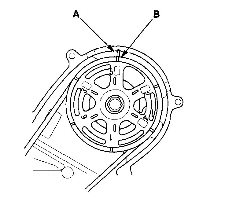
Hi br5499williams, When the D4 light blinks, it means an error has been detected by the TCM. You need to retrieve the DTC to find out what is causing it.


https://www.2carpros.com/forum/automotive_pictures/192750_SCS95Accord_5.jpg

Count the flashes of the D4 light with ignition switch ON and let me know. Prolonged flashes = 10 Short quick flash = 1
Jul 7, 2020 at 2:23 PM (Merged)
Avatar
MY2DRACCORD
  • MEMBER
  • 16 POSTS
I went to the transmission shop the they said I need to rebuilded it then I went to an shop and they said there was nothing wrong with my transmission. when I turn on my car an drive it fine but long drives, I hit the gas and it feel like its slipping, like it cant pick up speed.
Jul 7, 2020 at 2:23 PM (Merged)
Avatar
2CARPRO JACK
  • CERTIFIED EXPERT
  • 11,533 POSTS
Ifit slipd when it gets hot, the second shop may not have driven it enough.Did the second shop give you an explination of why it feels that way when you drive for along time?
Jul 7, 2020 at 2:23 PM (Merged)
Avatar
MY2DRACCORD
  • MEMBER
  • 16 POSTS
No, they said its dragging so I need to get it rebuilded, I think they just wanted my mooney. It wont change gears to pickup speed when I drive for a long period of time
Jul 7, 2020 at 2:23 PM (Merged)
Avatar
2CARPRO JACK
  • CERTIFIED EXPERT
  • 11,533 POSTS
If it wont shift properly when hot, there may be something wrong with it.Try having it serviced first with Honda trans fluid to see if it will help, its a cheap thing to try before having any major work done
Jul 7, 2020 at 2:23 PM (Merged)
Avatar
MY2DRACCORD
  • MEMBER
  • 16 POSTS
Every time I speed up then slow then speed up agian, ny tranny feels like is slipping, like the adjusting to a different speed while make a rough noise add more gas to it.
Jul 7, 2020 at 2:23 PM (Merged)
Avatar
MHPAUTOS
  • CERTIFIED EXPERT
  • 31,937 POSTS
Hi there,

Thank you for the donation.

There is not a lot you can do here apart from check the oil level, i would get it off to a transmission specialist ASAP and get a diagnosis done as you will be doing damage to the transmission if you keep driving it like this.

Mark (mhpautos)
Jul 7, 2020 at 2:23 PM (Merged)
Avatar
MY2DRACCORD
  • MEMBER
  • 16 POSTS
Can the transmission be fix without rebuilding or replacing it?
Jul 7, 2020 at 2:23 PM (Merged)
Avatar
MHPAUTOS
  • CERTIFIED EXPERT
  • 31,937 POSTS
Hi there,

Hopefully it may be a quick fix if it is a faulty solenoid valve or something in the valve body, but we just can't be sure until it has been checked over first hand, go get a test and report done and if in doubt about their recommendations re post with the findings.

mark (mhpautos)
Jul 7, 2020 at 2:23 PM (Merged)
Avatar
HOWITZERS
  • MEMBER
  • 4 POSTS
I recently purchased a 1992 Honda Accord Wagon with transmission issues. The transmission slips slightly when it first gets going, and as it warms up, I start losing gears, eventually having only 1st gear as it gets hot. I replaced the TCU and the lower solenoid pack (was receiving a Code 7) but the transmission still slips. I THOUGHT it may have been because there was too much ATF in the transmission (the dipstick shows fluid nearly twice as high as the "full" mark). So, i took it to a Honda shop to have the ATF and filter changed but they wouldn't changed it b/c they said it wouldn't help at all and that i needed to have the transmission replaced. So... questions: Would draining off the excess fluid help the transmission to function more properly? If i were to attempt to replace the transmission myself, do I need to take the engine out as well, or would I be able to replace the transmission without doing so?
Jul 7, 2020 at 2:24 PM (Merged)
Avatar
KHLOW2008
  • CERTIFIED EXPERT
  • 41,814 POSTS
Hi howitzers,

Overfilling of ATF can cause shifting problems and why did you not remove the excess fluid and test first?

Removal of the trans does not require the engine to be removed. However there are a lot of work to be done.
Jul 7, 2020 at 2:24 PM (Merged)
Avatar
HOWITZERS
  • MEMBER
  • 4 POSTS
Didn't drain the excess ATF because i have no way to drain it (No jack stands, no draining tool). I'm not that mechanically inclined, but i'm learning.... Will try that over the next couple of days and provide an update. I'm also quite afraid to drive it out, as I don't want to be stranded. I BARELY made it home the last time the transmission heated up. Guess the ATF got really frothy.
Jul 7, 2020 at 2:24 PM (Merged)
Avatar
MADMAX642
  • MEMBER
  • 1 POST
i have a 1990 honda accord that is having transmission i problems i figure. it will crank up fine but when you shift into gear it will drive a short distance maybe a 100 feet and then it just slips out of gear and will not move, like its in neutral. i can turn the ignition off and crank it back up and make it another 100 feet and it will do the same thing. does anyone know what might be the problem? im hoping it doesnt need a new transmission, although ive heard they run forever.
Jul 7, 2020 at 2:24 PM (Merged)
Avatar
MHPAUTOS
  • CERTIFIED EXPERT
  • 31,937 POSTS
HI there,

Best you try and get this inspected by a transmission specialist, you may be doing more damage driving it, just check the fluid level and condition first.

Mark (mhpautos)
Jul 7, 2020 at 2:24 PM (Merged)
Avatar
WEEBLES97
  • MEMBER
  • 3 POSTS
[quote:50ada7186a="madmax642"]Transmission problem
1990 Honda Accord 4 cyl Front Wheel Drive Automatic 204000 miles

i have a 1990 honda accord that is having transmission i problems i figure. it will crank up fine but when you shift into gear it will drive a short distance maybe a 100 feet and then it just slips out of gear and will not move, like its in neutral. i can turn the ignition off and crank it back up and make it another 100 feet and it will do the same thing. does anyone know what might be the problem? im hoping it doesnt need a new transmission, although ive heard they run forever.[/quote:50ada7186a]


I have the same problem have u had any advice....
Jul 7, 2020 at 2:24 PM (Merged)
Avatar
MHPAUTOS
  • CERTIFIED EXPERT
  • 31,937 POSTS
This will have to be checked by a trans specialist as they have the special tooling required to do this work, general mechanics won't be able to offer the same service, just firstly check the oil level & condition and make sure that the selector cable is working correctly and moving freely.

Mark (mhpautos)
Jul 7, 2020 at 2:24 PM (Merged)
Avatar
WEEBLES97
  • MEMBER
  • 3 POSTS
[quote:32510a44d9="mhpautos"]HI there,

Best you try and get this inspected by a transmission specialist, you may be doing more damage driving it, just check the fluid level and condition first.

Mark (mhpautos)[/quote:32510a44d9]


there is a screen in trans that gets cloged the only way to fix it is take out trans and overhaul trans. thats what i found out with same problem. when u drive the screen gets cloged then when u turn off car the stuff falls off screen and over and over
Jul 7, 2020 at 2:24 PM (Merged)