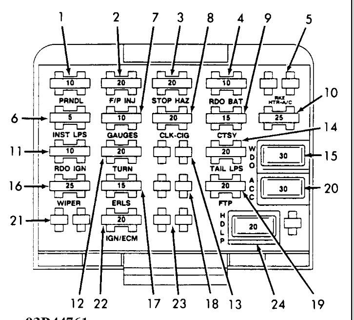
my cigar lighter wont work.i have checked all the fuses in the fuse box and they are all good. i have tried another lighter to see if the other one was burned out, but still not working. i tested the wire plug that plugs on to the bottom of the lighter. seems like there is no fire coming out of the plug. my tester is good. what might be wrong? what else could i check?
i was thinking about hooking two wires up from the battery posts and wire them to the plug to see if the plug is any good. i didn't know if i should do that or not.i dont want to burn out anything.
i thought i would ask you for some advice before i did that.
please help me if you can. thanks,james. my email: Ollie OJ [email protected]
i was thinking about hooking two wires up from the battery posts and wire them to the plug to see if the plug is any good. i didn't know if i should do that or not.i dont want to burn out anything.
i thought i would ask you for some advice before i did that.
please help me if you can. thanks,james. my email: Ollie OJ [email protected]
Jun 3, 2015 at 7:47 AM
