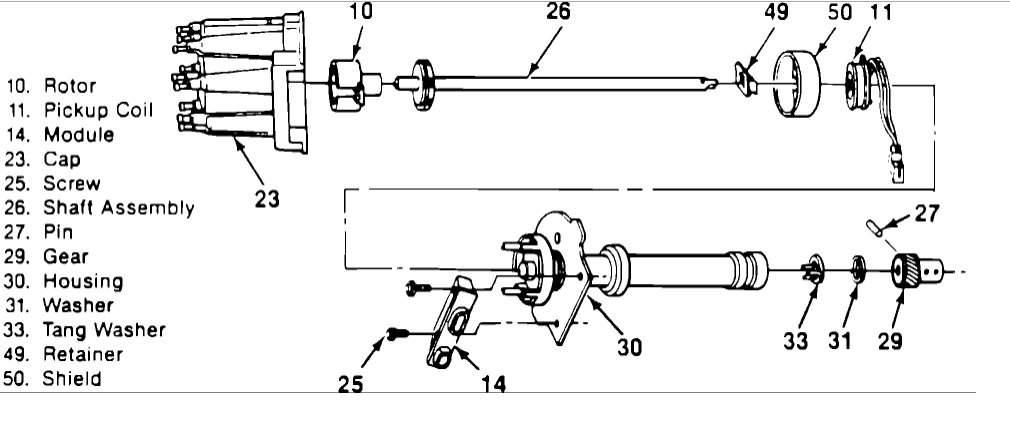
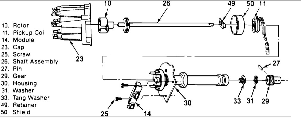
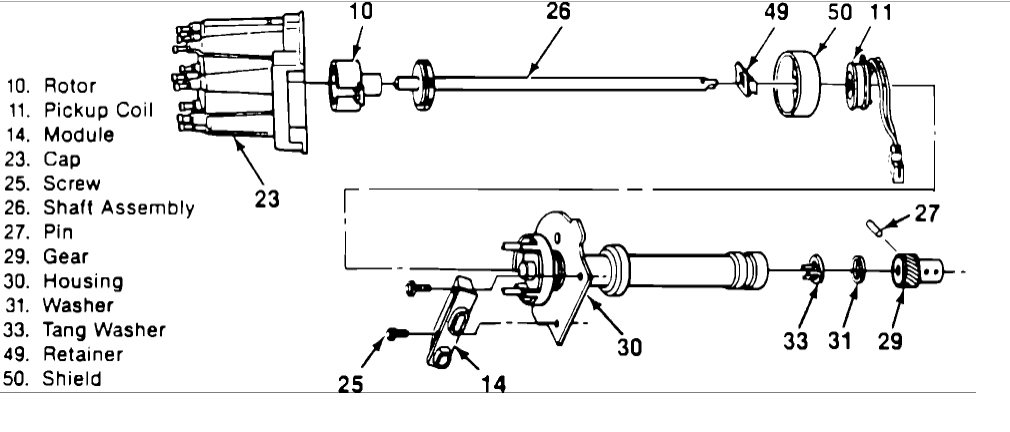
everyone I have talked to says there is a Electronic Spark Control Module on my 1993 GMC Suburban. some people say its by the throttle body, others say its on top of the heated core behind the glove box. I cannot find it anywhere. I have the 350 w/ coil, distributor, ignition control module inside the distributor. any advice?
Feb 11, 2011 at 6:03 PM

