I have a 93 dodge dynasty and when I drive for about 20 miles it will go into limp mode
then if I stop and restart it and rev it then I can go about 5 more miles I have replaced both
speed sensors and the pigtails for them and flushed the transmission with new filter and ATF4 fluid
replaced also. Had a shop check codes what they got was #42 and replaced the solenoid
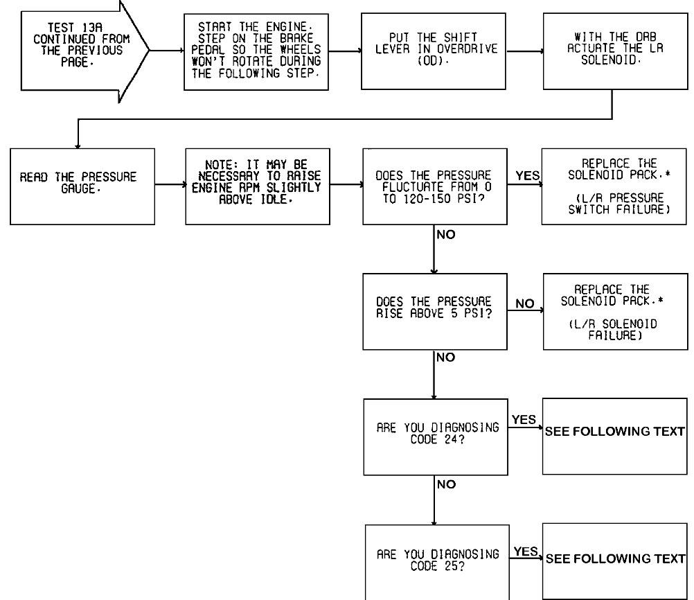
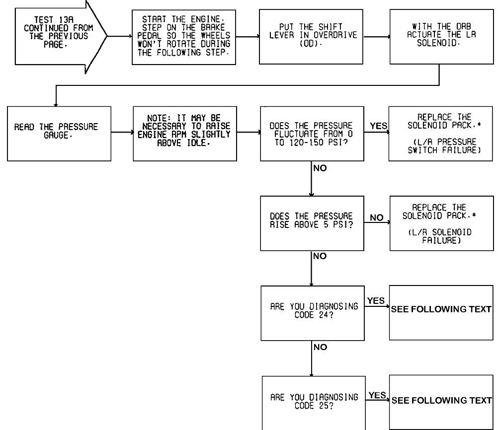
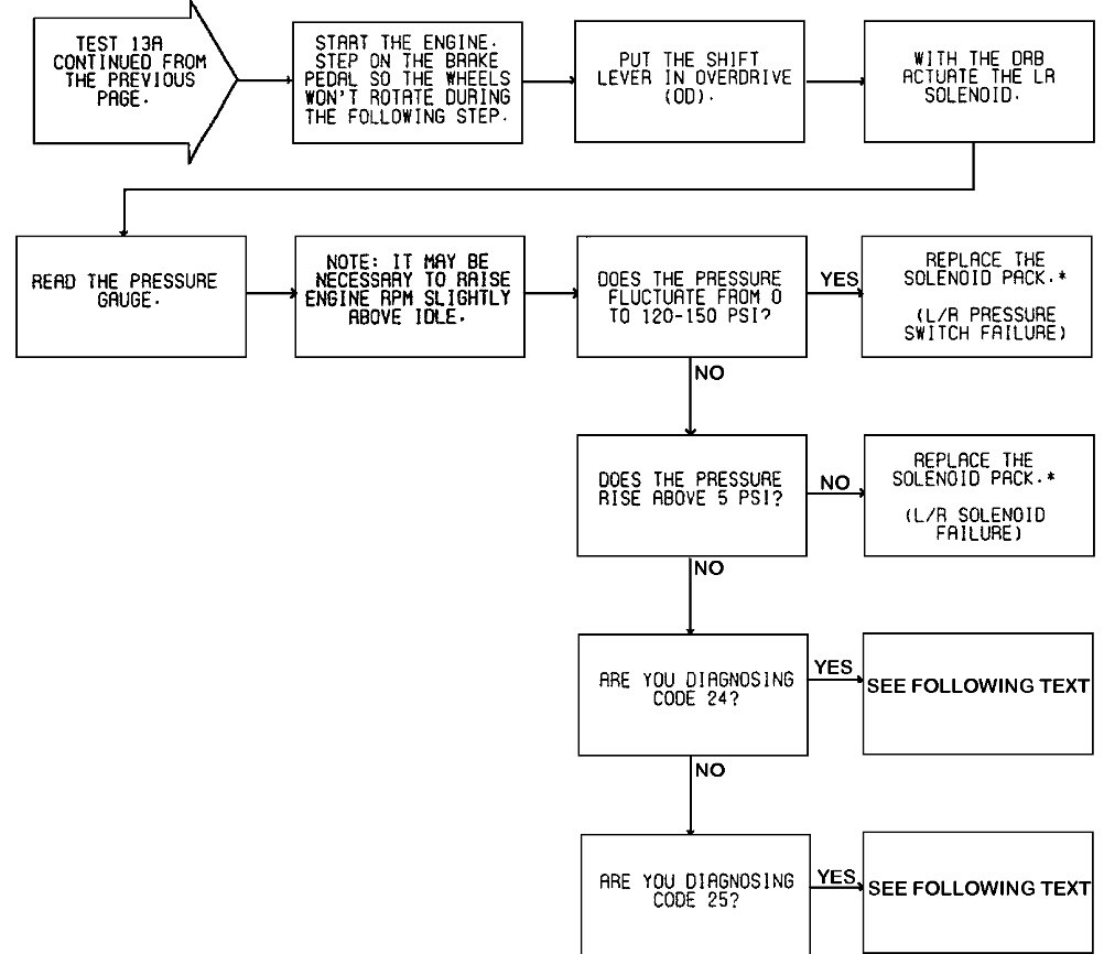
pack. Also code #24 transmission low rev pressure What is this and how can I fix it?
then if I stop and restart it and rev it then I can go about 5 more miles I have replaced both
speed sensors and the pigtails for them and flushed the transmission with new filter and ATF4 fluid
replaced also. Had a shop check codes what they got was #42 and replaced the solenoid
pack. Also code #24 transmission low rev pressure What is this and how can I fix it?
Jul 26, 2015 at 10:58 AM







