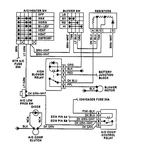
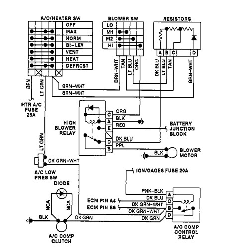
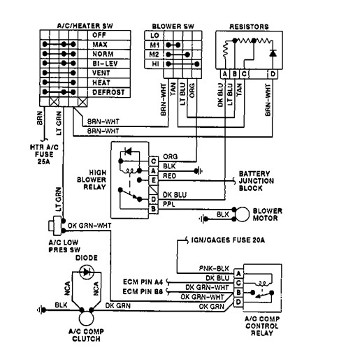
my blower runs very slow on lower settings and not at all on high,
I have replaced blower motor and resistor thingee.
I have replaced blower motor and resistor thingee.
Oct 5, 2011 at 4:09 PM
