Front left door does not unlock with fob and with the door switch

2006 PONTIAC GRAND PRIX
60,000 MILES
Avatar
AVASP96
  • MEMBER
  • 2 POSTS
It locks but does not unlock. All other doors working properly. At the same time it shows that the door is ajar.
Again only the left front. I assume that it is the door lock actuator is going bad.
Is my assumption correct?
Are there any detailed instructions on the replacement procedure? Thanks.
Sep 12, 2018 at 4:02 PM
Advertisement
Avatar
STEVE W.
  • CERTIFIED EXPERT
  • 15,113 POSTS
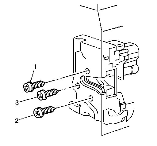
Yes, that sounds like a failed actuator. No real tricks, the inner handle trim pries out as does the trim piece on the pull handle then remove the screws under the handle. Remove the door lock button and then the inner panel comes free starting at the lower rear corner and pulling the retainers free. Then you remove the electrical connector harness (rotate the locking cam to disengage it) and then the water barrier. The latch gets removed and replaced. Before you try to use the new latch you need to adjust the play to the outer handle. You leave the handle down and adjust the rod on the latch to remove all of the play. Then snap it into place.
Sep 12, 2018 at 9:27 PM
Avatar
AVASP96
  • MEMBER
  • 2 POSTS
Are there any more detailed diagrams for the lock replacement?
I have the insteuctions on how to remove the panel.
Sep 13, 2018 at 4:42 PM
Advertisement
Avatar
STEVE W.
  • CERTIFIED EXPERT
  • 15,113 POSTS
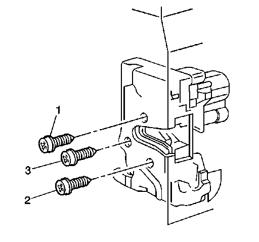
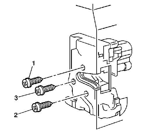
Not really anything that shows much. Once the panel is off you remove the rods from the inner and outer handles and locking buttons. Then the bolts that hold the latch to the door. Remove the latch enough that you can disconnect the wiring and it comes out through the opening the panel covers.
Sep 13, 2018 at 7:38 PM